Introducción y aplicación del producto
Los rieles pesados se pueden clasificar de acuerdo con los escenarios de aplicación, y se pueden dividir en ferrocarriles de alta velocidad de 60 kg/mu75v, como el ferrocarril de alta velocidad de Beijing-Shanghai. Líneas de servicio pesado de 75 kg/m U78CRV, como la línea Daqin, que es la línea de servicio pesado más grande del mundo. Rails urbanos de 60 kg/m U71mn, como los subterráneos de Beijing y Shanghai. U78CRV tiene una resistencia a la tracción de hasta 1080MPA, un alargamiento de mayor o igual a 8, y una dureza de hasta 300-350 Hb. Tiene una fuerza ultra alta y a menudo se usa para líneas especiales de servicio pesado.


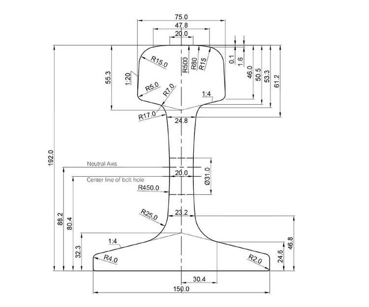
Especificaciones del producto

Preguntas frecuentes
P: ¿Cuál es el puerto de envío?
R: Puede elegir el puerto de acuerdo con sus necesidades.
P: ¿Sobre el precio del producto?
R: Debido a los cambios cíclicos en los precios de las materias primas, los precios varían en diferentes períodos.
P: ¿Qué certificaciones tienen sus productos?
R: Tenemos ISO 9001, EWC y otras certificaciones.
P: ¿Cuánto tiempo lleva su tiempo de entrega?
R: Por lo general, nuestro tiempo de entrega está dentro de 7-45 días, y puede retrasarse si hay circunstancias extremas o especiales.
P: ¿Puedo visitar su fábrica?
R: Por supuesto, damos la bienvenida a clientes de todo el mundo para visitar nuestra fábrica.
Etiqueta: U78CRV Freavy Rail para líneas de servicio pesado, ferrocarril pesado U78CRV para fabricantes de líneas de servicio pesado, proveedores, fábrica





