Introducción al producto
Los rieles pesados de GB son rieles pesados especiales para los ferrocarriles que se producen en estricta conformidad con los "estándares nacionales de la República Popular de China". Su proceso de producción cubre múltiples enlaces precisos, como fundición de materia prima, formación de rodillos, tratamiento térmico e inspección de calidad. En la etapa de fundición de la materia prima, se seleccionan el mineral de hierro de alta calidad y el coque con bajo fósforo y azufre, y se obtiene hierro fundido a través del plastilamiento de plastilamiento. Luego, el contenido de carbono, manganeso, silicio y otros elementos se controla con precisión a través de la fabricación de acero convertidores y la tecnología de refinación fuera del horno. Al mismo tiempo, la desgasificación de vacío, la agitación de argón y otros procesos se utilizan para reducir efectivamente las impurezas dañinas y los gases en el acero fundido para garantizar que la pureza del tocho de acero alcance altos estándares.

U75V GB de carga pesada de 75 kg de riel son rieles de aleación de vanadio de alto carbono. Los rieles U75V contienen una variedad de elementos clave. El efecto sinérgico de cada elemento le da a los rieles un excelente rendimiento. Su contenido de carbono (c) está entre 0. 71% y 0. 8%. El mayor contenido de carbono ayuda a mejorar la resistencia y la dureza de los rieles. El contenido de silicio (Si) es 0. 5% a {{1 0}}. 8%. El elemento de silicio puede mejorar la resistencia y la tenacidad del acero y mejorar el rendimiento de procesamiento del acero. El contenido de manganeso (Mn) está entre 0. 7% y 1. 0 5%. El manganeso puede mejorar la resistencia del acero y eliminar la fragilidad caliente del azufre y el oxígeno en el acero. El contenido de fósforo (p) y azufre (s) se controlan estrictamente a menos o igual a 0. 025%, porque el fósforo y el azufre son elementos de impurezas dañinas. El contenido excesivo reducirá la resistencia y la soldabilidad del acero. Limitar estrictamente su contenido puede garantizar la calidad de los rieles. Además, el contenido de vanadio (V) está entre 0.04% y 0.12%. El vanadio es un elemento de aleación extremadamente importante que puede refinar los granos del acero y mejorar significativamente la resistencia, la tenacidad y la resistencia al desgaste del acero. Desempeña un papel clave en la mejora del rendimiento de los rieles U75V.
| Componentes químicos % | |||||||||||||
| Marca | C | S1 | Minnesota | P | S | V | |||||||
| U75v | 0.71-0.80 | 0.50-0.70 | 0.75-1.05 | Menos o igual a 0. 025 | Menos o igual a 0. 025 | 0.04-0.12 | |||||||
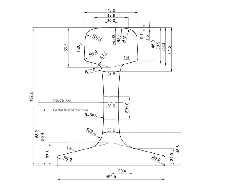
Especificaciones del producto

Aplicación de productos


Embalaje y entrega de productos
El embalaje de exportación de rieles pesados se basa en la estabilidad y la protección, y adopta un proceso de agrupación en capas. Primero, alinee y apile los rieles uno por uno, y coloque almohadillas de goma no deslizantes entre cada capa de rieles para evitar el desgaste de la superficie causada por el agitación del transporte. Al agruparse, primero use alambre de acero fino para envolver y fijar a lo largo de la dirección longitudinal de los rieles para formar una restricción preliminar, y luego use correas de acero anchas para agruparse horizontalmente, con cada cinturón de acero separado a 1.2 metros para garantizar que la fuerza se distribuya uniformemente. Para la prevención del óxido, use aceite anti-riegas de secado rápido y use equipos de pulverización de alta presión para cubrir uniformemente la superficie de los rieles. Después de que el recubrimiento esté seco, envuelva inmediatamente una capa de película de plástico a prueba de humedad, y use cinta para sellar la interfaz para aislarlo de la humedad externa.


Como proveedor de servicios integrados globales de GB Standard Heavy Rail Products, Gnee Rail se enfoca en proporcionar soluciones de materiales únicas para proyectos internacionales de construcción ferroviaria, construyendo una cadena ecológica industrial completa y lograr un control de procesos completo de la selección de materias primas, la optimización de procesos de producción a la logística y la distribución global. Tenemos un centro de inspección de calidad con derechos de propiedad intelectual independientes, equipados con equipos avanzados como espectrómetros y probadores de dureza para garantizar que todos los indicadores de rendimiento del producto sean mejores que los estándares de la industria. También hemos desarrollado innovadoramente una "plataforma de colaboración de cadena de suministro inteligente" para lograr la gestión digital del procesamiento de pedidos, la trazabilidad de calidad y la programación de logística. Con una red de marketing global y un equipo profesional de servicios multilingües, podemos brindar apoyo localizado para clientes en diferentes países y regiones.






Etiqueta: U75V GB Carga pesada de 75 kg de riel, China U75V GB Carga pesada 75 kg Fabricantes de riel, proveedores, fábrica






